JavaScript required
We’re sorry, but Coda doesn’t work properly without JavaScript enabled.
Skip to content
Gallery
Homepage
Workspace
Untitled sync page
More
Share
Explore
Testing
Building the test stand
Electronics:
seperate arduino with serial connection to PC
5 load cells
a case and orderly wiring
Software
use exact force cell positions to calculate forces
write calibration software
provide a visual output (either a display on the device or something similar)
Hardware: (keep easy assembly in mind)
clamping to the rails
with vertical board to mount cells
3 plate sandwich with interfacing to rail blocks and flapper
axial bearing in there
3 force cells in there
ledge in front to attach to cells
something to bridge the river, e.g. wooden planks
wires nicely mounted and bundled
2nd iteration keep in minds:
maybe lasercut the entire plate incl. holes (for accuracy)
put bearing on lower level (for more weight on top)
watch out for unwanted reaction forces
upper load cells should rotate freely around x axis (to avoid z forces)
and should not produce forces in y direction (e.g. via slit & convex holder design), or by placing them inline with the bearing)
latches for calibration devices
prevent contact wood plate - load cell
Measurements:
Rail:
diameter: 20mm
track: 80mm (changeable)
center of rail to upper end of rail block: 21mm
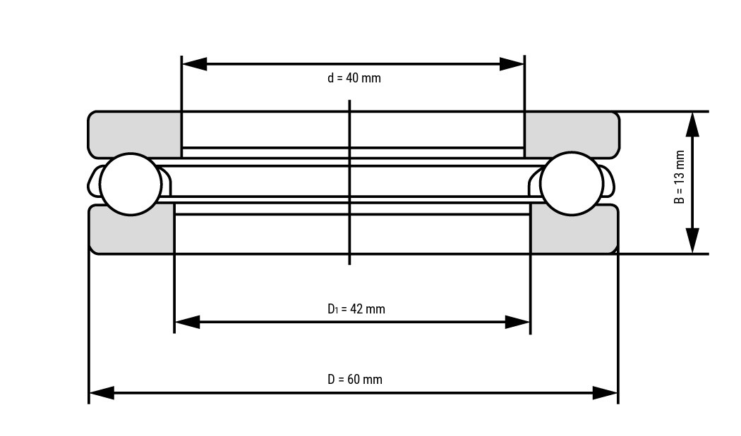
bearing
diameters: 40mm, 60mm, height: 5mm
Load cells:
air between floor and cell: 5mm+
Strategy:
3d Printed Rail Block (mounted via cable ties)
3d Printed load cell mount for wood
3d Printed bearing holder as inset for wood
3 wood plates (cut with normal tools) (e.g. 5mm plates?)
Cabling:
This link can't be embedded.
Want to print your doc?
This is not the way.
Try clicking the ⋯ next to your doc name or using a keyboard shortcut (
Ctrl
P
) instead.